Косые чугунные тройники 45° и 60° в Борисове с доставкой

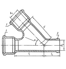
Косые чугунные тройники предназначены для плавного изменения направления потока и подключения дополнительных ветвей в трубопроводных системах. Они минимизируют гидравлическое сопротивление и снижают риск возникновения засоров, что особенно критично для самотечных канализационных сетей и промышленных магистралей.

Использование качественных чугунных тройников обеспечивает долговечность и надежность соединений, устойчивость к коррозии и перепадам температур. Это прямо влияет на снижение эксплуатационных расходов и бесперебойную работу инженерных систем.

Мы предлагаем изделия, соответствующие строгим стандартам качества. Прочный серый чугун гарантирует высокую механическую прочность и длительный срок службы даже в условиях высоких нагрузок.

В ассортименте представлены вариации с углами 45 и 60 градусов, что позволяет подобрать оптимальное решение для любого проекта. Доступны различные типоразмеры для монтажа на трубы разного диаметра.

Косые чугунные тройники 45гр
Цена по запросу
Косые чугунные тройники 60 градусов
Цена по запросу
Показано с 1 по 2 из 2 (всего 1 страниц)